懸掛式中心傳動(濃縮)刮泥機

XY懸掛式中心傳動(濃縮)刮泥機 用于污水處理廠和工業生產物料的沉淀濃縮池,將濃縮污泥刮集至池底中心集泥斗,在靜水壓力或輸送泵作用下將污泥及時排走,以便進行下一步的污泥處理。
產品特點
◆ 懸掛式中心傳動(濃縮)刮泥機為中心傳動懸掛式結構,不需中心支墩,對池頂周邊路面水平度和路面強度無要求,土建結構簡單;
◆ 可自帶鋼結構桁架工作橋,簡化土建工程;
◆ 傳遞扭矩大,穩定性好,安裝方便,維修簡單;
◆ 有雙重過載保護,工作可靠;
◆ 能進一步分離濃縮污泥中的自由水分,以減少污泥體積,提高污泥濃縮效果,有利于提高沉淀效率;
構造及工作過程
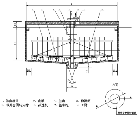
XY懸掛式中心傳動(濃縮)刮泥機由驅動裝置、堰板(附件)、主軸、刮臂、刮板、濃縮柵(選擇件)、穩流筒(附件)、控制柜等組成。中心傳動濃縮刮泥機工作時,固定于刮臂上的垂直柵條在驅動機構的動力作用下緩慢轉動,均勻攪拌泥水,促使泥水分離,促進污泥顆粒的聚結,加快污泥的沉淀與濃縮。刮臂在驅動裝置帶動下隨中心主軸旋轉,刮臂上的刮泥板將沉積在池底的污泥由外向內推向池中心集泥斗。當運行過程中,由于刮板、刮臂受異物卡塞等意外原因導致過載工作時,自動報警停機。
適用范圍
該機一般用于池徑小于18米的圓形沉淀池,靠靜水壓力或輸送泵作用下將污泥或物料及時排出。
外形結構圖



